Technika cieplna – Ćwiczenie laboratoryjne nr 5 (wersja 14)    4.04.07

BADANIE PROFILU CIŚNIENIA I NATĘŻENIA PRZEPŁYWU GAZÓW W RUROCIAGU

 

1.      Cel ćwiczenia

  Celem ćwiczenia jest poznanie podstawowych praw opisujących przemieszczanie gazu w przewodzie cylindrycznym zwanym rurociągiem. Wynika stąd konieczność przeprowadzenia  wielopunktowego pomiaru ciśnienia całkowitego i statycznego w zależności od położenia strugi względem osi rurociągu. Parametrem wyjściowym do rozważań kinetyki przepływu czynnika jest rozkład wartości ciśnienia dynamicznego, określany często jako profil ciśnienia.

  Pod pojęciem profilu ciśnienia rozumie się wykres ilustrujący jego rozkład przestrzenny w funkcji odległości od osi rurociągu. Analiza wyników badań wymaga znajomości struktury i sensu fizycznego podstawowych parametrów procesu, wynikających przede wszystkim z prawa zachowania energii, znanego w literaturze pod nazwą prawa Bernoulliego.

 Przeprowadzone badania , pozwalają na:

a)     określenie rozkładu zmienności (profilu) oraz wartości średniej ciśnienia całkowitego i dynamicznego,

b)  wyznaczenie profilu liniowej prędkości przepływu gazu,

c)  analizę ilościowa procesu poprzez określenie objętościowego i masowego natężenia przepływu czynnika (gazu). 

Celem dodatkowym jest określenie czynników decydujących  o profilu prędkości i ciśnienia  oraz  poznanie fizycznego sensu tzw. bezwymiarowej liczby Reynoldsa, która jest podstawą do klasyfikacji charakteru badanego przepływu.

 Wprowadzone uproszczenia matematyczno-fizycznego modelu procesu są możliwe dzięki  założeniu, że przewód badanego rurociągu jest poziomy, prosty i dostatecznie długi.

2.  Podstawowe pojęcia i zależności opisujące przepływ gazu

 

            Przepływem nazywamy postępujące przemieszczanie się cieczy, gazów lub par w rurociągach, kanałach, dyszach, przewężeniach oraz innych elementach przewodu. Przepływ nazywa się ustalonym (stacjonarnym), jeśli kierunek i prędkość płynących cząstek w tym samym miejscu strugi jest stała w czasie. Przykładem takiego przepływu jest wypływająca ze zbiornika woda , której  gór­ny poziom nie zmienia się, a tym samym wypływ pozostaje pod stałym ciśnieniem.

W przewodzie o przekroju kołowym, całkowicie wypełnionym przepływającym czynnikiem, wyróżnia się dwa rodzaje przepływów:

a)  uwarstwiony  (laminarny, warstwowy),

b)  burzliwy  (turbulentny).

W pierwszym przypadku strugi czynnika przepływającego układają się równolegle do osi przewodu, przy czym w przekroju wzdłużnym rozkład prędkości ma w przybliżeniu kształt paraboli, a największa prędkość przypada w osi przewodu.

 

Wektory średniej               Wektory średniej                  Wektory średniej

    prędkości                            prędkości                               prędkości

           wmin = 0                                wmin = 0                                               wmin = 0

 

 

          

        wśr = 0.5 wmax                           wśr = ~ 0.8 wmax                            wśr = ~ 0.85 wmax

       

 Ruch laminarny                  Ruch burzliwy                        Ruch burzliwy         

Rys. 1.  Schematyczne porównanie przepływu uwarstwionego i burzliwego          

 

              W drugim przypadku cząstki czynnika nie przesuwają się równolegle do przodu, lecz wirują w różnych kierunkach, mieszają się z sobą tworząc rodzaj linii śrubowej. Rozkład prędkości przedstawia krzywą spłaszczoną, przy czym w środkowej części, przewodu prędkość pozostaje ta sama, a od pewnego miejsca zmniejsza się znacznie aż do zera przy ściance przewodu (rys. 1). Również przy przepływie burzliwym ruch czyn­nika można określić jako prostoliniowy, gdy za prędkość strumienia przyjmuje się średnią prędkość przepływu. Rysunek 1 podaje dwa przykłady ruchu burzliwego, które pokazują charakter spłaszczonej krzywej rozkładu prędkości.

Rozpatrując następnie dowolnie długi odcinek przewodu o zmiennych przekrojach, zakłada się analogicznie, że do każdego przekroju dopływa i odpływa na sekundę ta sama ilość czynnika i że wszystkie przekroje są wypełnione czynnikiem, a więc nie powstają żadne puste miejsca (rys. 2).

 

    F1                                F2                                       F3

                                                                               

                                                                              

    w1, v1, T1                      w2, v2, T2                                            w3, v3, T3

                          

 

                 I                                  II                                        III

Rys. 2.  Schemat przepływu w przewodzie o zmiennym przekroju

 

Dla uproszczenia zakłada się, że czynnik jest nieściśliwą cieczą o stałej temperaturze i przepływa poziomo, czyli że różnice wysokości nie mają wpływu na przebieg procesu. Kinetykę przepływu gazu w rurociągu opisują dwa podstawowe parametry:

a)      masowe natężenie przepływu: 

b)     objętościowe natężenie przepływu: 

gdzie :

 – masowe natężenie przepływu , tj. masa przepływającego czynnika odniesiona do jednostki czasu [ ],

  – objętościowe natężenie przepływu , tj. objętość przepływającego czynnika odniesiona do jednostki czasu .

 

Oznaczając przez:

F -  powierzchnię przekroju przewodu w dowolnym miejscu, ,

p -  ciśnienie bezwzględne, ,

g  - przyspieszenie ziemskie, ,

w - średnią prędkość przepływu w badanym miejscu przewodu, ,

υ -  objętość właściwą przepływającego czynnika, ,

r -  gęstość czynnika przepływającego (r = 1/ υ)  , ,

 

określić można  masowe natężenie przepływu dla przekrojów  I,  II i III  (rys. 2) za pomocą  zależności:

                        (1)

Ponieważ założono, że temperatura w każdym przekroju przewodu jest jednakowa, a dla cieczy nieściśliwych oraz dla gazów i par przy niedużej zmianie przekroju F można pominąć zmienność objętości właściwej  , więc

                         [ m3/ s ]      (2)

lub ogólnie

                                                                 [ m3 / s ]                        (3)

Jest to zasada ciągłości przepływu, która dla cieczy nieściśliwych stwier­dza, że w dwu dowolnych miejscach przewodu prędkości są odwrotnie pro­porcjonalne do powierzchni przekrojów. Jeżeli więc strumień natrafia na zwężenie rurociągu lub kanału, jego prędkość powinna się zwiększyć, aby ta sama masa czynnika przepłynęła w jednostce czasu. Przeciwnie zaś, gdy przekrój się zwiększa, wówczas prędkość przepływu zmniejsza się. Najprostszą postacią  równania na ciągłość przepływu jest wzór (3), według którego iloczyn powierzchni przekroju i prędkości jest wartością stałą.

Zwiększenie się prędkości w czasie przepływu, a tym samym energii kinetycznej w zwężającym się przekroju rurociągu, jak np. na rys. 2,  może się odbywać tylko kosztem energii potencjalnej. Należy pamiętać,  że rozważania prowadzi się dla przypadku, gdy w rurociągu płynie ciecz nieściśliwa oraz przemieszczanie się czynnika odbywa się bez tarcia. Całkowita energia przepływającej cieczy składa się z energii cieplnej, energii kinetycznej przepływu oraz energii potencjalnej, przy czym tę ostatnią stanowi energia ciśnienia i energia położenia. Dla lepszego zobrazowania wszystkich rodzajów energii, zakłada się, że rozpatrywany odcinek prze­wodu nie jest nachylony do poziomu, a zmiany energii cieplnej są pomijalnie małe.  Stosując  prawo za­chowania energii do przepływającego elementu o objętości , otrzymuje się wyrażenie

                        (5)

      energia położenia  +  energia ciśnienia  +  energia kinetyczna = const

 

Podzieliwszy obydwie strony równania (5) przez , otrzyma się inną  postać równania Bernoulliego, będącą bilansem ciśnień:

                                                             (6)

Poszczególne człony  oznaczają:

                  -  wysokość geodezyjna położenia,

     p              -  ciśnienie statyczne lub hydrostatyczne,

          -  ciśnienie dynamiczne.

            Z podanych wzorów (5, 6) wynika, że w całej długości rurociągu suma energii lub wyznaczających ją parametrów  pozostaje zawsze wartością stałą. Zmiana jednego członu powoduje odpowiednią zmianę członów pozostałych.

            Ze względu na to, że w praktyce przewody są poziome lub bardzo zbliżone do poziomu, czyli , można opuścić pierwszy człon równań (5, 6), uzyskując równanie:

                                                                              (7)

Ze wzoru ( 7 ) widać, że zwiększenie się prędkości powoduje obniżenie ciśnienia i odwrotnie. Równanie (7) wygodnie jest zapisać w postaci :

                                                                                                  (8)

            Ponieważ każdy z członów powyższego wzoru ma wymiar ciśnienia, więc taki sam wy­miar powinna również mieć suma, którą oznacza się jako ciśnienie całkowite .

Człon pierwszy równania  będziemy nazywać ciśnieniem statycznym , natomiast człon drugi  ciśnieniem dynamicznym . Z powyższych rozważań wynika bardzo ważna dla procedury badań doświadczalnych  zależność :

                                                                                             (9)

 

Wyznaczona z wartości ciśnienia dynamicznego liniowa prędkość przepływu wynosi:

                                                                         (10)

 

lub

                                                                                        (11)

Ciśnienie całkowite pc [ Pa ] mierzy się rurką zgiętą, skierowaną prze­ciw prądowi, tzw. rurką Pitota, podłączoną  do manometru ( np. cieczowego). Ciśnienie mierzone idealną rurką Pitota, przy prędkości poniżej prędkości głosu i niezbyt małych liczbach Reynoldsa, nazywa się ciśnieniem Pitota. Ciśnienie statyczne ps [ Pa ] mierzy się rurką prostą umieszczoną prostopadle do kierunku przepływu .

Ciśnienie dynamiczne pd  , z którego oblicza się prędkość w, jest więc różnicą zmierzonego w powyższy sposób ciśnienia całkowitego i statycz­nego.­

 

Rys. 3. Rozkład ciśnień w czasie przepływu

 

      Na rys. 3 pokazano zmiany energetyczne, przedstawiane jako zmiany ciśnienia w czasie przepływu w przewodzie o zmiennym przekroju. Wi­doczne jest, że ciśnienie całkowite pozostaje bez zmian, natomiast zmienia się ciśnienie statyczne, a tym samym dynamiczne. W przekroju węższym obniża się ciśnienie statyczne, a podwyższa się ciśnienie dynamiczne, gdyż zwiększenie prędkości odbywa się kosztem spadku ciśnienia albo energia kinetyczna zwiększa się kosztem zmniejszenia się energii potencjalnej i odwrotnie.

Mając zmierzone średnie ciśnienie dynamiczne w danym przekroju, można określić natężenie przepływu objętości czynnika, wstawiając do równania (2) wprowadzone wzory (10) i (11): ­

                                                               (12)

Dla masowego natężenia przepływu  otrzymuje  się zależność:

                                       (13) 

Z przedstawionych zależności wynika, że dla określenia kinetyki przepływu czynnika (gazu) konieczne jest wyznaczenie profilu ciśnienia dynamicznego, obliczenie średniej pręd­kości liniowej i wyznaczenie powierzchni wewnętrznego przekroju rurociągu (przewodu).

 

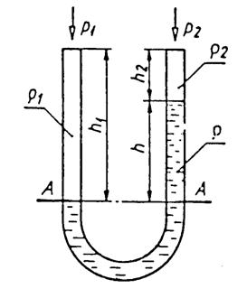
2.      Zasada działania manometru cieczowego dwuramiennego

 

Elementarnym przyrządem do pomiaru ciśnienia jest rurka  szklana, wygięta w kształcie litery U, posiadająca pio­nowe ramiona częściowo wypełnione cieczą manometryczną o znanej gęstości ρm. Jest to najprostszy manometr cieczowy.

 Manometr ten mierzy różnicę ciśnień działających na swobodne powie­rzchnie cieczy w rurkach. Przyjmiemy, że indeksy 1 , 2 dotyczą parametrów gazów znajdujących się w U-rurce powyżej cieczy manometrycznej.

 

Rys. 4. Manometr cieczowy dwuramienny

W bilansie - odniesionym do przekroju A-A  ( rys. 4) - porównamy sumę sił działających w lewym ramieniu manometru (lewa strona równania) z sumą sił działających w prawej części manometru, wśród których występuje, miarodajna dla mierzonej różnicy ciśnień, wysokość h. Indeksem „m” oznaczono dane odnoszące się do cieczy manometrycznej ( najczęściej woda). Bilans ten ma postać :

                                                               (19)

Gęstość gazu jest zawsze znacznie mniejsza od gęstości cieczy. Jeśli więc gęstości  i  są zbliżone do siebie i mniejsze od ρm (np. gdy w obu ramionach rurki ponad cieczą manometryczną znajduje się powietrze), to wzór upraszcza się do postaci

 

                                                                                (20)

Wzór (20) jest bardzo przydatny do przeliczania jednostek wyrażonych w postaci wysokości słupa cieczy manometrycznej na Pascale, np.

1 mm H2O = 1000 kg/m3 . 9,81 m/ s2 . 0,001 m =  9,81 N/ m2 = 9,81 Pa

3.      Pomiar natężenia przepływu gazu za pomocą rurki Pitota i Prandtla

 

Najprostszym przyrządem do pomiaru ciśnienia dynamicznego jest po­łączenie rurki zgiętej, właściwej rurki Pitota, mierzącej ciśnienie całkowi­te, z rurką prostą, mierzącą ciśnienia statyczne. Układ ten często niewłaś­ciwie zwany jest także rurką spiętrzającą Pitota. Udoskonaloną postacią tego połączenia jest rurka spiętrzająca Prandtla (rys. 5), zaprojektowana dzięki  pomiarom aerodynamicznym w celu ­osiągnięcie współczynnika korekcyjnego równego 1.

 

Rys. 5. Rurka Prandtla

Rurka Prandtla ma w części cylindrycznej szczelinę do pomiaru ciśnienia, w takiej odległości od czoła, aby strugi można było uważać za równoległe. Zamiast szczeliny można wykonać kilka lub kilkanaście okrągłych otworków. Mierzone tutaj ciśnienie odpowiada ciśnieniu statycznemu przepływającego czynnika. Szczelina wykonana jest w rurce zewnętrznej, w której znajduje się druga rurka. Czoło drugiej wewnętrznej rurki, skierowane przeciw prądowi, jest zaokrąglone i ma otwór wynoszący 0,3 średnicy zewnętrznej rurki, który to otwór jest miejscem pomiaru ciśnienia całkowitego. Obydwie rurki pomiarowe są wyprowadzone na zewnątrz i przyłączone do manometru różnicowego (np. do rurki U), który w tym przypadku pokazuje wprost ciśnienie dynamiczne .

Wobec tego, że rurka Prandtla nie odpowiada warunkom przyrządów ruchowych, więc tych rurek nie umieszcza się na stałe, lecz używa się tylko do doraźnych kontrolnych pomiarów gazów o niskim ciśnieniu. Przy ciśnieniach wyższych mogą powstać trudności przy uszczelnianiu i wy­konywaniu pomiaru m.in. z powodu zanieczyszczania się otworów do pomiaru ciśnień. Ponadto rurka Prandtla przy niedużych prędkościach stosowanych w praktyce daje małe spiętrzenia, a tym samym małą dokładność pomiaru.

Na rys. 6 pokazano sposób pomiaru za pomocą rurki Prandtla w przewodzie, w którym przepływa gaz o ciśnieniu niewiele wyższym od otoczenia. Zasadniczo należy wykonać kilka pomiarów wzdłuż powierzchni przekroju w celu oznaczenia średniej prędkości. Chcąc się ograniczyć tylko do jednego pomiaru, należy czujnik rurki Prandtla ustawić w takim miejscu, gdzie, prędkość przepływu jest średnia dla całego przekroju. W praktyce dla przepływów burzliwych, z którymi ma się prawie wyłącznie do czynienia, nie popełnia się dużego błędu, jeśli czujnik umieszczony jest w odległości ok. 0.3 D od powierzchni wewnętrznej rurociągu.

 

Rys. 6. Pomiar ciśnienia całkowitego, statycznego i dynamicznego rurką Prandtla ( pd = pc - ps)

Ciśnienie dynamiczne pd  mierzy się  za pomocą rurki dwuramiennej („U”) lub innych manometrów cieczowych ( np. mikromanometru z rurką pochyłą Recknagla). Jeżeli nie dysponujemy rurką Prandtla, możemy wykonać osobny pomiar ciśnienia całkowitego i statycznego, zgodnie ze schematem przedstawionym na rys. 3.  Ponieważ mierzone ciśnienia wyka­zują niewielkie wartości ( kilka lub kilkanaście ), więc do pomiarów korzystnie jest używać rurek U pochyłych ( ukośnych), zwiększających dokładność odczytu.

 

4.      Przeprowadzenie pomiaru.

Schemat metody badań ciśnienia całkowitego i statycznego przedstawiono na rys. 7.

 

 

 

 

 

 

 

 

 

 

 

 

 

 

 

 

 

 

 

 


Rys. 7.  Schemat badań ciśnienia całkowitego (A) oraz ciśnienia statycznego (B).

Badania profilu ciśnień przeprowadza się dla czterech wybranych punktów przekroju rurociągu tj. w odległościach od ścianki 0.06 D,  0.3 D, 0.4 D oraz 0.5 D. W każdym z nich przeprowadza się za pomocą rurki Pitota pomiar ciśnienia całkowitego i rurką prostą ciśnienia statycznego.  Kolejność obliczeń do określenia profilu prędkości i natężenia przepływu jest następująca:

1.      określenie ciśnienia barometrycznego, temperatury powietrza i średnicy wewnętrznej rurociągu ( 45 mm),

2.      określenie indywidualnej stałej gazowej i lepkości kinematycznej gazu,

3.      obliczenie gęstości ( ρ )  i objętości właściwej ( υ ) powietrza,

4.      wyznaczenie dla badanych punktów wartości ciśnień dynamicznych i wartości lokalnej prędkości liniowej gazu,

5.      określenie charakteru przepływu gazu według obliczonej wartości liczby Reynoldsa,

6.      wyznaczenie średniej prędkości gazu w badanym przewodzie,

7.      określenie objętościowego natężenia przepływu,

8.      obliczenie masowego natężenia przepływu gazu,

9.      sporządzenie wykresów profilu ciśnienia i profilu prędkości.

Z przedstawionej metody badań wynika procedura obliczeń zawarta w  arkuszu sprawozdawczym  ( str. 11).

K o n i e c

Zagadnienia do kolokwium z tematu nr  5

 

 ” Badanie profilu ciśnienia i natężenia przepływu gazów w rurociągu ” Rok ak. 06/2007)

 

1. Równanie  Bernoulliego, zależności definiujące pojęcia  ciśnienia całkowitego, statycznego i dynamicznego.

2. Narysować profile prędkości dla ruchu laminarnego (uwarstwionego) i burzliwego, określić prędkość średnią.

3. Związek prędkości średniej i pola powierzchni przekroju rurociągu dla cieczy nieściśliwych.

4. Przedstawić zasadę działania  manometru cieczowego dwuramiennego ( tzw. U-rurka)

5. Zasada działania mikromanometru Recknagela z rurką pochyłą.

6. Podstawowe jednostki ciśnienia i ich przeliczanie.

7. Zasada działania rurki  Pitota.

8. Metoda pomiaru ciśnienia dynamicznego.

9. Związek masowego i objętościowego natężenia przepływu z ciśnieniem całkowitym i statycznym

10.Wyjaśnić pojęcia nadciśnienia i podciśnienia.

 

 

            4.04.2007        plik:  5Inst-Profil-14-R

 

---------------------------------------------------------------------------------------------------------

 K O N I E C  części  teoretycznej – poniżej ( s. 11)  przedstawiono arkusz sprawozdania.

 

 

 

 

 

 

 

 

 

 

 

 

 

 

 

 

 

 

 

 

 

 

 

 

Imię

NAZWISKO

Data pomiaru

Techn. cieplna  Rok II.  Grupa:

 

 

 

.04. 2007

 

Z5 =

 

Sprawozdanie z ćwiczenia laboratoryjnego nr  5              (  wersja 14 )

”Badanie profilu ciśnienia i natężenia przepływu gazów w rurociągach”

1 .  Podstawowe parametry badanego gazu ( powietrza )

.pb = pot = ……………………………..

tot  =..……oC (15 – 25) (‘pow’- powietrze)

D =  45 mm = ................   m.  ( średnica wewnętrzna rurociągu)

2.  Obliczenie gęstości powietrza wg równania stanu gazu

a) ciśnienie absolutne  z uwzgl. średniego ciśnienia statycznego ps  ( tabela 3,  dopasuj jednostki wg wzoru p = ρ g h )

b) obliczenie gęstości i objętości właściwej powietrza

 . ρpow  = p / ( RT ) = ……….../ ……………  =  ……….  [ kg/ m3]

 . υpow  = 1/ ρpow  = .../ …..…  = ……            [ m3 / kg ]     

3.  Wyniki pomiarów  ciśnienia całkowitego i statycznego mikromanometrem Recknagla (w mm H2O)

 

S= x / D

0.06

0.3 *

0.4

0.5

P c [mm H2O]

 

 

 

 

P s [mm H2O]

 

 

 

 

P d [ Pa]

 

 

 

 

w [m/s]

 

 

 

 

Uwagi

 

wśr

 

 

*  jeżeli Re > 3000 to jest to kolumna wartości średnich ; x –odległość od powierzchni wewnętrznej

4.  Określenie charakteru przepływu wg liczby Reynoldsa (w – pr. średnia, ν – lepkość kinem.)

 =  ............................. /  .....................   =    ................... (4  miejsca znacz. np. 4152)

Charakter przepływu jest :  burzliwy / laminarny  ???   ( niepoprawne skreślić )

5. Obliczenie objętościowego natężenia przepływu

a)  powierzchnia wewnętrznego przekroju rurociągu F = 3.14 .......................   =  ..............   [ m2]

b)  objętościowe  natężenie  przepływu  V  : 

              =  w śr * F =..................   ................................  =    .....................................  [ m3 /s ]

c)      masowe  natężenie  przepływu  m  : 

   =  .....................................................................  [ kg / s ]

6.    Współczynnik weryfikacyjny

Z5= r pow / 1.2 + wśr  / 20 = ................/ 1,2  +  ................/20 

Z5   =  ................

Na odwrocie:  schemat rozkładu ciśnienia dynamicznego,  profil prędkości i wnioski.